找回密码
 立即注册

QQ登录

只需一步,快速开始

微信扫码登录

搜索
查看: 1097|回复: 9

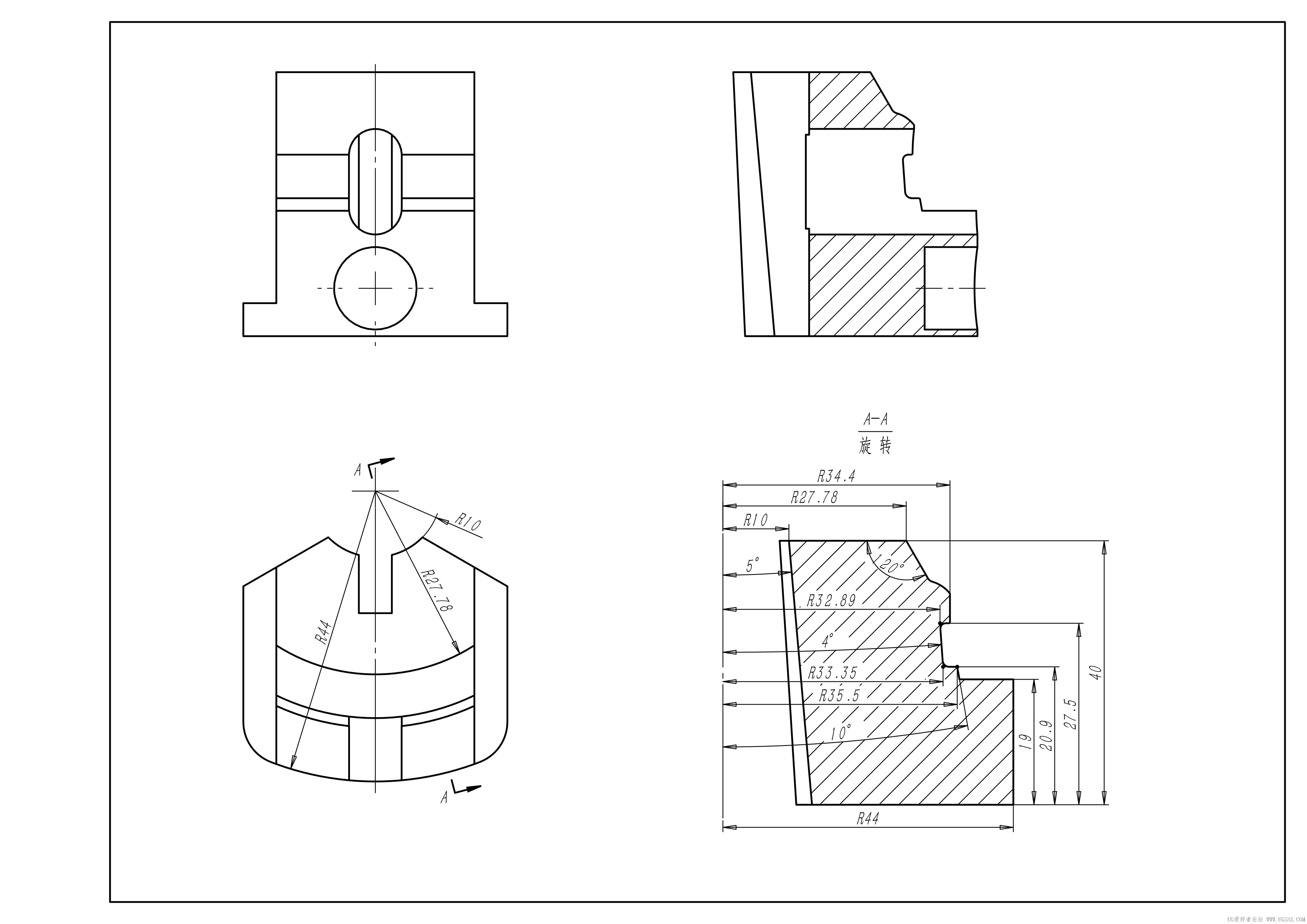
[求助] 大神们 这工零件该怎么出图啊 研究半天 没研究明白 画的可乱了

[复制链接]

6

主题

2

回帖

93

积分

上等兵

积分
93
发表于 2025-8-19 16:43:06 | 显示全部楼层 |阅读模式
求大佬 出个文件学习一下
5Q0_513_425 J-冲豁工装-胀胎-07.prt (963.14 KB, 下载次数: 25)

下载.png
是模型出图纸 图纸没出明白

2

主题

323

回帖

4675

积分

中尉

积分
4675
发表于 2025-8-25 09:26:22 | 显示全部楼层
加一个剖视图,就好标注尺寸了。
5Q0_513_425 J-冲豁工装-胀胎-07.jpg

3

主题

240

回帖

3469

积分

中尉

积分
3469
发表于 2025-8-22 12:16:53 | 显示全部楼层
三视加剖视没有解决不了的

40

主题

1575

回帖

5448

积分

上尉

积分
5448
发表于 2025-8-19 17:01:51 | 显示全部楼层
画得很好啊

6

主题

2

回帖

93

积分

上等兵

积分
93
 楼主| 发表于 2025-8-19 17:44:41 来自手机 | 显示全部楼层
NQJ-NX 发表于 2025-8-19 17:01
画得很好啊

是模型出图纸 有个面出的不明白

9

主题

21

回帖

140

积分

上等兵

积分
140
发表于 2025-8-19 20:47:18 | 显示全部楼层
画的感觉还可以啊

9

主题

1290

回帖

4141

积分

中尉

积分
4141
发表于 2025-8-20 06:37:32 | 显示全部楼层
出工程图,主要目的就是把特征和尺寸表达清楚。外观面好像都是旋转面。局部不好标注的可以用向视图

21

主题

1011

回帖

3526

积分

中尉

积分
3526

可爱天使

发表于 2025-8-20 08:59:12 | 显示全部楼层
要出专业的平面工程图,那得系统性地学习下AUTOCAD才行哦。

1

主题

141

回帖

392

积分

二级士官

积分
392
发表于 2025-8-22 09:03:49 | 显示全部楼层
楼主画的不错

10

主题

758

回帖

2226

积分

少尉

积分
2226
发表于 2025-8-23 10:19:47 | 显示全部楼层
上为主,中剖为辅
您需要登录后才可以回帖 登录 | 立即注册

本版积分规则

咨询QQ:1359218528|发帖须知!|Archiver|手机版|小黑屋|UG爱好者论坛 ( 京ICP备10217105号-2 )

GMT+8, 2026-3-21 10:02

Powered by Discuz! X3.5 Licensed

© 2001-2025 Discuz! Team.

快速回复 返回顶部 返回列表