找回密码
 立即注册

QQ登录

只需一步,快速开始

微信扫码登录

搜索
查看: 444|回复: 2

[求助] 求助怎么做局部抛视图

[复制链接]

1

主题

0

回帖

16

积分

列兵

积分
16
发表于 2025-11-13 23:46:28 | 显示全部楼层 |阅读模式
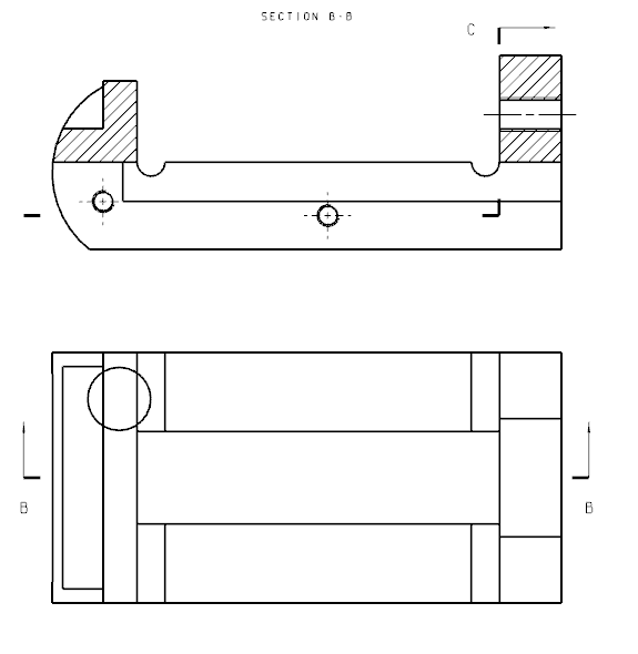
1.我想做局部抛,就是图2中的那个螺钉是怎么局部抛出来的

2.我想问下图2中的那个半抛也没法做出来这是怎么做的


屏幕截图 2025-11-13 234207.png

0d7d380ef627fdc37a832efa4ee1fb5d.jpg

2

主题

77

回帖

490

积分

二级士官

积分
490
发表于 2025-11-25 09:26:06 | 显示全部楼层
基点选螺纹孔圆心

91

主题

184

回帖

2411

积分

少尉

积分
2411
发表于 2025-11-26 08:18:10 | 显示全部楼层
三步
1.視圖上畫草圖,把要剖的地方圈住
2.點局部剖,選
  a.要局部剖的視圖
  b.選第一步的草圖
  C.選一個基準點作為剖切深度
  d.選剖切方向(基本默認即可)
您需要登录后才可以回帖 登录 | 立即注册

本版积分规则

咨询QQ:1359218528|发帖须知!|Archiver|手机版|小黑屋|UG爱好者论坛 ( 京ICP备10217105号-2 )

GMT+8, 2026-4-26 04:57

Powered by Discuz! X3.5 Licensed

© 2001-2025 Discuz! Team.

快速回复 返回顶部 返回列表